近日,企查查、天眼查等平台显示,山东巧媳妇食品集团有限公司新增一起被执行案件,案号为:(2025)鲁0305执4211号,被执行金额7702元,进程日期为2025年12月12日。

企业官网显示,山东巧媳妇食品集团起源于 1895 年,总部位于山东淄博,是一家以生产酱油、食醋、酱类、蚝油、料酒、复合调味料等为主的专业化调味品生产企业,在济南、青岛、淄博、菏泽、泰安等地建有大型生产基地。

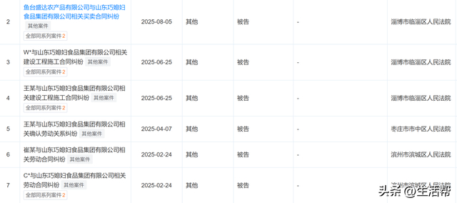
进入2025年以来,山东巧媳妇食品集团有限公司涉及的司法案件包括3起劳动关系纠纷案件、2起建设工程施工合同纠纷案件、1起买卖合同纠纷案件。




